https://www.yunlianauto.com

激光束清洁汽车玻璃 特斯拉又添黑科技

  日前,海外媒体报道称,特斯拉目前已经为自己全新开发的黑科技申请了专利,该系

  日前,海外媒体报道称,特斯拉目前已经为自己全新开发的黑科技申请了专利,该系统为激光清洁技术,主要针对挡风玻璃、后视镜,甚至是摄像头实现清洁功能。

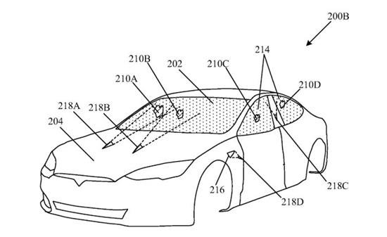
  根据此次曝光的专利申请附带的插图可以看出,特斯拉以Model S车型为例,在前备箱盖、前翼子板以及B柱处均安装了激光装置,并通过摄像头检测挡风玻璃、后视镜或摄像头镜面,如发现碎屑,激光便会对相对应点进行照射,从而将其烧掉。此外,特斯拉还提到该技术还会用于清除光伏太阳能板上的玻璃和玻璃状涂层中的碎屑,从而有效提升太阳能电池板上的阳光直射率,进而增加电池板产生的电量。

免责声明:本站登载此文仅出于信息分享,并不意味着赞同其观点及其描述,不承担侵权行为的连带责任。如涉及版权等问题,请与我们联系(联系QQ:26887486),我们将及时删除处理。
本文链接:https://www.yunlianauto.com/article/10/9403.html